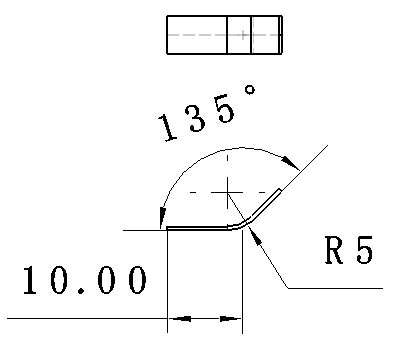
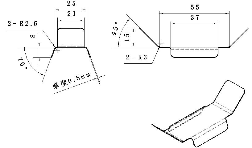
关键词:中望3D 钣金零件 折弯 非90度折弯 在钣金零件的创建过程中,经常涉及折弯角度特征的创建。如果所要创建的零件的折弯角度是90°,那在三维CAD软件中创建起来比较简单,并且在创建过程中可通过修改参数值来使这个钣金零件达到理想的结果。但是,如果其折弯角度不等于90°时,那对设计师的产品构建能力就提出了更高的要求。因为这些非90°的折弯特征是不在厚壁的同一侧的,通过钣金模块的沿线折叠功能是比较难做出正确的结果的,需要设计师转化构建思路,采用非常规的CAD设计操作方法。 本文将结合实例,向大家介绍三维CAD软件——中望3D如何创建这种非90°折弯的钣金零件。 中望3D的钣金模块,为设计师们提供了很多创建常规钣金零件的功能,使用起来简单便捷,也非常容易上手。而在进行钣金零件创建操作时,我们需要结合创建需求,适当运用一些操作技巧。 我们以图1中的折弯特征为例子,先来看看基本的操作: 图1 折弯特征 如果先画草图,然后通过中望3D钣金模块的拉伸功能,就能得到正确的结果,如图2所示; 图2 正确结果 但如果是先拉伸平板,再将草绘折弯线利用沿线折叠功能来操作,就很难创建出正确的结果,如图3所示: 图3 错误结果 当然,除了上述的正确操作之外,我们也可以先通过图4中这个思路来创建钣金零件:使用“造型模块”中的“拉伸”功能,构造出零件的基本形状,然后再通过“钣金模块”中的“标记折弯”功能,将其转换成具有钣金属性的零件。 图4 钣金零件创建思路 下面,我们结合一个具体的钣金零件(折弯角度非90°),来介绍具体的创建操作。图5中即是我们要创建的钣金零件效果图。 图5 钣金零件效果图 第一步:建立如图6所示的草图。 图6 草图 第二步:点击“造型模块”的“拉伸”功能,创建第一个拉伸特征,图7为拉伸效果。 图7 拉伸效果 第三步:创建如图8所示的草图。 图8 草图 第四步:继续通过“造型模块”的“拉伸”功能,创建第二个拉伸特征(图9)。 图9 第二个拉伸效果 第五步:利用“造型模块”的“组合”功能,将两实体合并(图10) 图10 合并效果 第六步:利用“钣金模块”的“标记折弯”功能,将造型特征转换成钣金特征,即可得出图11的效果。 图11 转换后的钣金特征效果 第七步:将折弯件展开(图12)。 图12 展开效果 第八步:创建如图13所示的草图。 图13 第九步:利用“造型模块”的“拉伸”(减材料)功能,去除多余材料,得出图14效果。 图14 去除多余材料 第十步:将展开的钣金零件恢复到折弯状态(图15) 图15 恢复折弯状态 第十一步:使用“倒圆角”功能,去除尖角(图16) 图16 倒圆角 通过以上步骤的操作,我们就可以创建出符合设计要求的钣金零件了。 无论是钣金零件还是其他机械零件等的设计,都需要设计师结合产品的具体需要,灵活调整构建思路,再结合对操作软件的灵活运用,来达到最终的设计效果。新推出的三维CAD软件中望3D 2016版,结合设计师的便捷操作习惯,同时也将更多功能简便化、智能化,助设计师轻松灵活地展现创意。 马上下载中望3D 2016版,享受高效灵活的设计体验://www.zw3d.com.cn/product-58-1.html Z3是什么格式文件//www.zw3d.com.cn/blog/201503131763.html 更多详情,欢迎访问中望3D官方网站:www.zw3d.com.cn |
QQ 咨询|手机版|联系我们|iCAx开思网
( 粤ICP备2025491344号-1 ) 
GMT+8, 2025-12-27 13:25 , Processed in 0.044925 second(s), 10 queries , Gzip On, Redis On.
Powered by Discuz! X3.3
© 2002-2025 www.iCAx.org