练习 - 图纸视图放置(三)
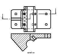
第10步:在俯视图中放置一个剪切平面。该剪切平面将用于创建剖视图。 点击Sheet1 选项卡,使其成为活动图纸页。 在Drawing Views(图纸视图)组中,选择Cutting Plane(剪切平面)命令。 选择俯视图作为绘制切割平面的图纸视图。窗口变为Cutting Plane Line(切割平面线)模式。 点击Zoom Area(缩放区域)按钮,在俯视图附近的一个缩放区域。 在Draw(绘图)组中,选择Line(线段)命令绘制切割平面的轮廓线。 按照下图所示绘制一系列线段。锁定左侧垂直边的中点和右上方孔的圆心。使用IntelliSketch(智能草图)关系定位关键点。如果关键点没有高亮显示,选择IntelliSketch(智能草图)对话框(在IntelliSketch(智能草图)组中),确保已经选择了中点选项。将光标移至元素上方(但不选择),激活这些元素以进行关键点定位。当光标经过水平和垂直线时,显示一条虚线、中点和圆的圆心。 ![]() 选择Close Cutting Plane(关闭切割平面) 如需完成方向步骤,将光标置于图纸视图下方,然后点击定位切割平面箭头,如图所示。 ![]() 第11步: 使用在上一步中定义的切割平面创建一个剖视图。 使视图适合窗口。 选择Section(剖面)命令。 选择在俯视图中创建的切割平面线作为用于创建剖视图的切割平面。 在命令栏中点击Model Display Settings(模型显示设置)选项。 在对话框上清除Hidden edge style(隐藏的边样式)选项。点击消息框中的OK(确定),然后点击Drawing Properties(图纸属性)对话框上的OK(确定)。由此可关闭剖视图中的隐藏边。
|
QQ 咨询|手机版|联系我们|iCAx开思网
( 粤ICP备2025491344号-1 ) 
GMT+8, 2025-11-10 08:09 , Processed in 0.032990 second(s), 10 queries , Gzip On, Redis On.
Powered by Discuz! X3.3
© 2002-2025 www.iCAx.org