从视图中移除几何体
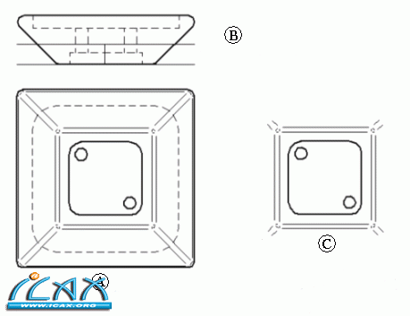
从视图中移除几何体 通过指定背部裁剪平面的图纸视图显示深度,可简化任何类型的图纸视图,以便将平面后面的几何体从视图中移除。例如,可使用此特征可使剖视图或局部剖视图的后面显得更简洁。 在此图示中,(A) 中的虚线表示将背部裁剪平面应用于原始图纸视图显示的位置。正交视图 (B) 显示用来定义显示深度和背面裁剪平面位置的动态直线工具。结果 (C) 显示如何修剪平面前方的图纸视图几何体,以及完全移除平面后面的几何体。 可对任何类型的视图定义图纸视图显示深度和裁剪平面:正投影视图、轴测图、剖视图、辅助视图和局部放大图。附加到通过图纸视图裁剪平面移除的边缘的尺寸和注释也被拆离。 “设置图纸视图深度”命令指定图纸视图的可见显示深度,然后它将应用背部裁剪平面。在更新视图时,将平面后面的几何体从图纸视图移除。 要调整背部裁剪平面的位置,以便让更多或更少的几何体可见,可再次选择“设置图纸视图深度”命令,然后指定不同的深度值。 要移除图纸视图裁剪平面并将图纸视图恢复至其原始显示深度,可使用图纸视图快捷菜单上的“移除已定义的深度”命令,然后更新视图。 图纸视图更新 当零件视图中描绘的零件和装配更改时,可以很容易地更新视图,以使它们与新模型的几何结构相匹配。这是因为零件视图与创建它们的 3D 零件或装配相关联。例如,如果您在“零件”环境中对 3D 零件添加一个孔,然后在“工程图”环境中更新零件视图,则孔的几何图形会被添加到 2D 图纸中。 如果图纸视图相对于 3D 模型而言已过时,则在图纸页上,软件会在该图纸视图四周显示一个实心边框或框。要更新图纸视图显示以及已调入的尺寸,请使用“更新视图”命令。 检查图纸视图是否过期的工具 可结合多个工具识别图纸视图状态是否过期。 图纸视图跟踪器 图纸视图跟踪器检查零件视图中的过期几何图形和文档中的过期模型状态,并提供如何更新它们的具体说明。打开具有过时零件视图的文档时,“图纸视图跟踪器”显示一条警告,提示您必须在定型之前更新视图。 装配配置更改使图纸视图在此工程图文件选项中过期 对于启用了“配置匹配”选项的工程图文档中的所有装配视图,此选项(在 Solid Edge 选项对话框的“常规”页面上)是针对显示配置更改进行的自动检查。显示配置会存储装配中零件的显示/隐藏和简化/设计状态。设置此选项后,对与图纸视图有关的装配配置所做的更改将使视图过时。系统会自动检查文档中的所有图纸视图。 配置检查 对于当前选定图纸视图中显示的装配,此选项(对于选定图纸视图,在“属性”对话框的“显示”页面)是针对显示配置更改进行的手工检查。 配置匹配 此选项(对于选定图纸视图,在“属性”对话框的“显示”页面)控制图纸视图中的显示/隐藏零件设置与装配配置中的显示/隐藏设置是否匹配。未设置此选项的视图在对装配显示配置进行更改后不会过时。 使用图纸视图跟踪器 “图纸视图跟踪器”提供关于更新过时零件视图和过时模型的特定信息。当与视图相关联的 3D 模型发生更改时,视图就会变得过时,而当“工程图”环境外部的链接更改时,模型就会变得过时。模型过时的原因可能包括(但不限于): 在父装配文件上下文的外部修改了零件文件 零件文件中的内部链接断开 模型过时状态在“工程图”环境中是无法解决的。因为有许多种不同的环境会导致模型过时状态,所以,“图纸视图跟踪器”提供了用于更新当前文档中的过时模型的逐步指导。Solid Edge 在过时视图四周显示一个实心边框 (A),在过时模型四周显示一个角边界 (B),如果同时存在视图过时和模型过时两种状态,则同时显示实心边框和角边框 (C)。 校正模型过时状态通常会导致视图过时状态。 在更新零件视图之后产生的失败尺寸 当您更新零件视图时,尺寸可能会因为它所涉及的边不再显示在零件视图中而未能更新。例如,如果您在零件模型中删除了一个孔特征,则您更新零件视图时,就会从零件视图中删除表示那个孔的边。 如果尺寸未能更新,它就会变为“失败”或“已拆离”色。颜色变化可以帮助您容易地检测到失败尺寸,以便您可以对图纸进行编辑。零件视图的所有失败尺寸构成单一选择集,便于您一次性将它们全部删除。 重新连接尺寸 有时,您可能想重新连接图纸中的失败尺寸。例如,如果您删除了构成零件上单个孔特征的数个孔之一,而代表那个孔的边在图纸中已标注尺寸,则该尺寸将失败。除了删除该尺寸然后再放置新尺寸之外,还可以将尺寸线手柄点拖放到零件视图中其余孔边之一上。由于失败尺寸上的所有前缀、公差和其它格式都会应用到新尺寸,所以可以节省时间。即使它们没有失败,也可将尺寸线手柄点拖放到其它父对象。 跟踪已更改的尺寸与注释 只要可能,Solid Edge 将尝试把在图纸视图更新后拆离的尺寸与注释重新捆绑起来。 所有已更改的尺寸和注释,不管已修复或未修复,都将在“尺寸跟踪”对话框中进行报告。要激活该对话框,请选择“工具→尺寸”→尺寸更改命令。 |
QQ 咨询|手机版|联系我们|iCAx开思网
( 粤ICP备2025491344号-1 ) 
GMT+8, 2025-11-11 08:35 , Processed in 0.041979 second(s), 11 queries , Gzip On, Redis On.
Powered by Discuz! X3.3
© 2002-2025 www.iCAx.org